登录后,头条更懂你内容更有趣
蓝战非被绑架事件始末复盘
iPhone 17 Pro Max降价1000元!
iPhone也要涨价了?17标准版在印
内存暴涨230%!iPhone 17/18 恐
iPhone17卖爆:网友喊着“不买”
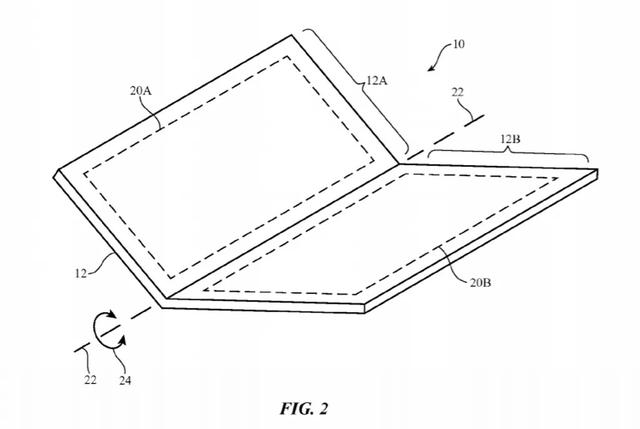
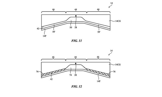
曝折叠屏iPhone实现无折痕设计,
无折痕,大电池!iPhone Fold曝
苹果全新“黑科技” iPhone Fold
业界首款:消息称苹果iPhone Fol
苹果 iPhone Fold 传新进展:有
1
09:05
0点评
247次围观环球网
2
18:52
241次围观新民晚报
3
19:05
235次围观一束儿
4
19:20
234次围观IOCOscar6
5
19:27
228次围观一窝小狮子
© 2022 联合早报网首页官网
未成年人相关举报:400-140-2108 按5
京-非经营性-2016-0081
互联网药品信息服务资格证书